Discussions
Select Date
Tags:
shivam tyagi

· started a discussion

· 1 Months ago

both sides are not 15, one is 12 therefore additional areas also included.

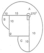
Question:
A cow is tied to one corner of a closed shed located in a field. The length and width of the shed are 15 m × 15 m and the length of the rope that is used to tie the cow is 25 m. What is the area in which the cow can graze?
Options:
A) \(478.75π sq. m\)
B) \(542.25 π sq. m\)
C) \(518.75π sq. m\)
D) \(604.25 π sq. m\)
Solution:
Ans: (c)



The area that can be grazed by the cow is the sum of the areas of the regions A, B, C. 
∴ Total area that can be grazed
\(=\cfrac{270}{360}× π(25)^2 + 2\left ( \cfrac {90}{360}×π(10)^2 \right )=\cfrac{π}{4}(3 × 625 + 2 × 100)\)
\(=\cfrac{2075π}{4}= 518.75 π\)

All Rights Reserved Top Rankers